Mike McBike @ Home / Arcade Reps Teil 5 / Lady Bug


{Lady Bug} Jetzt mal was ganz Altes - nicht das Spiel an sich, sondern das Alter des Reparaturauftrages... Lady Bug - ein witziges und buntes Spiel mit Käfern, Drehtüren und giftigen Pillen. Und dann gleich zwei fast identische PCBs, von denen die eine zu laufen scheint und die andere nicht vollständig bestückt ist:

Lady Bug

Auf der Zweiten sind schon ein paar Octal D Flip-Flops ausgelötet, das verheißt nichts Gutes.

Lady Bug

Lady Bug

Die Lauffähige läuft. Bild und Ton sind gut...

Lady Bug

Lady Bug

Lady Bug

Anders bei der gerupften PCB: auch nach teilweiser Aufrüstung mit Ersatzbausteinen sind die Datenbusse komisch und es gibt nur ein statisches Textbausteinbild - die CPU läuft nicht...

Lady Bug

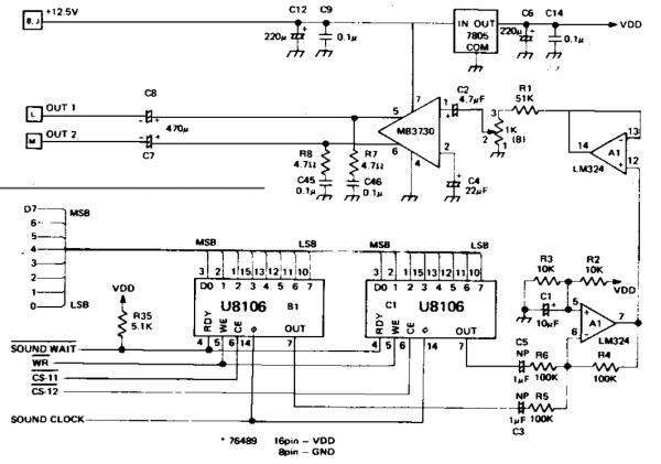
Ein Grund dafür: die beiden dubiosen Soundbausteine U8106 halten den Wait-Eingang der CPU auf Wait... da wartet sie halt...

Lady Bug

U8106... was zum Teufel ist das? Datenblätter gibt es nicht, dafür - wie üblich - MAME Source Code... SN76489, netter Versuch, Mr. Universal!

Lady Bug

Lady Bug

Nächster Schritt: U8106 rauslöten und sehen, was die CPU dann macht...

Lady Bug

die beiden Soundchips raus - dann sollte der Wait wieder frei sein:

Lady Bug

Cool, die CPU läuft - irgendwie...

Lady Bug

Der Datenbus ist völlig verhunzt - teilweise stuck-low, teilweise Pegel um 2V... an dem Datenbus hängen erschreckend viele Teilnehmer. Erste Erkenntnis: ein EPROM ist völlig hin, das Ersatzset von der zweiten Platine beseitigt schon mal die 2V-Pegel. Stuck-Low auf einem Datenbit wird vom LS244 verantwortet...

Lady Bug

Läuft immer noch nicht richtig... Z80 getauscht... Tschacka...

Lady Bug

Klasse, der nächste Fehler.

Lady Bug

6116 getauscht...

Lady Bug

Tschacka:

Lady Bug

Nee, oder?

Lady Bug

Dieses Teil ist echt buggy... ohne Lady. Viel gemessen, wenig gefunden - nur der 74LS245 war auch defekt und hat den Datenbus verhunzt. Die 2114 im Bereich Textlayer sind alle O.K.

Lady Bug

.

Lady Bug

Der Spritebereich ist tot. Der Datenbus hat hier nur 1V Pegel, bin gespannt, ob ich die Ursache finde. Das Schaltbild stimmt soweit, es ist nur unglaublich anstrengend, die ICs zu finden, wenn sie an ganz anderer Stelle sitzen... Bisher: 9 defekte Bausteine... (3x EPROM, 2x RAM, 2x Sound, 2xTTL)

Das unrühmliche Finale: gestern über drei Stunden Signalsuche, leider ohne Erfolg. Das Problem ist erstens: die einteilige PCB hat den gleichen Schaltplan und bis auf wenige Ausnahmen die gleiche Verdrahtung, wie der vorliegende Schaltplan für die zweiteilige PCB aber natürlich völlig andere IC-Nummern und Positionen. Zweitens: die Logik für die Spritegenerierung ist ein undurchsichtiges Gattergrab mit diversen Rückkopplungen und dutzenden Latches, Gattern, Zählern... Das Game geht (nach Umlegen des passenden DIP-Schalters in den Attract-Mode. Sauber und farbstark,leider völlig Sprite-los.

Lady Bug

Lady Bug

Die Logik für die Sprites ist fast völlig tot - ich konnte aber auch nach drei Stunden mühsamen Durchklingelns keinen defekten Baustein finden...

Lady Bug

Schade, aber jetzt reicht's.


© 2013 - 2023 · W. Robel e-Mail senden